□李莹莹 文/图
技术背景
手术切口皮肤通常采用医用丝线进行缝合固定。为促进切口良好愈合,缝线所承受的张力需略大于常规结扎时的张力,以确保组织对合紧密,并能够抵抗术后早期活动带来的牵拉。拆线时,切口局部皮肤常处于不同程度的肿胀状态,甚至可能出现高于缝合线平面的隆起,这与术后炎症反应、组织液渗出及局部血液循环变化密切相关。传统的拆线剪刀多为剪臂与剪刀片呈直线连接的结构,操作时需医生一只手持镊子提起线头,另一只手将剪刀头穿过缝合线后竖起,再借助凹陷的剪刀片剪断缝线。这种操作方式不仅会增加患者的疼痛感,还可能会因牵拉创口而损伤皮肤边缘,影响手术效果。部分剪刀片虽然被设计成月牙状,但是在使用时需将剪刀片尖端与皮肤呈一定角度才能插入缝合线下方剪切,若操作者力度控制不当,很容易将剪刀片刺入皮肤,导致意外伤害。
为解决上述技术问题,设计一种具有水滴形刀头的拆线剪刀具有重要意义。该剪刀不仅能在使用过程中根据需求调整长度,便于使用者操作、减轻患者痛苦,还能在闲置状态下闭合刀头避免误伤。
创新内容
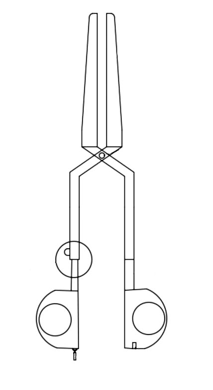
该具有水滴形刀头的拆线剪刀由刀头、销轴、把柄及握把等部件构成。剪刀配备两个刀头,二者通过销轴活动连接,且每个刀头表面分别与一个把柄顶端固定相连。把柄的底端设置有空腔,空腔内壁与握把套接;握把表面设置有第二卡槽,把柄上镶嵌有滑套,滑套内表面与滑块外表面滑动连接。滑块的一端与连接块固定连接,另一端与第二卡槽卡接。连接块通过弹簧与把柄表面固定连接。
把柄与握把采用伸缩杆式结构,握把与空腔的形状相同且尺寸相适配。其中一个握把的底端设置有第一卡槽,另一个握把的底端固定连接有弹性绳,弹性绳的另一端连接有卡块。
工作原理及使用流程
使用时,将刀头贴近患者皮肤,挤压两个握把,通过销轴的连接作用使刀头完成剪切动作。若需要调整握把长度,可拨动连接块使滑块与第二卡槽分离,拉动握把使其在空腔内移动,通过将滑块卡在不同位置的第二卡槽内,实现握把伸出长度的调节。
有益效果
该具有水滴形刀头的拆线剪刀通过设置刀头、销轴、把柄、握把、弹性绳、卡块、第一卡槽、第二卡槽、滑块和滑套等部件,操作者转动握把即可带动刀头完成剪切动作。拔出连接块并拉动握把,可调整握把长度;卡块与第一卡槽卡接后,握把受挤压使刀头闭合,可防止闲置时误伤。各部件协同配合,使操作更加便捷、灵活且可靠。在剪切过程中调节握把长短,便于医务人员灵活使用剪刀,同时有效避免刺伤患者。
(作者供职于河南省人民医院)

具有水滴形刀头的拆线剪刀的简易结构示意图

刀头截面的简易结构示意图