一种儿童实用新型 □娄欣霞 文/图

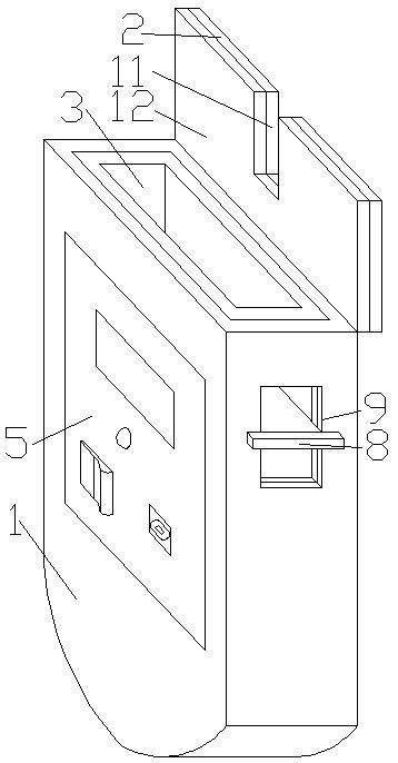
图1

图2

图3
听诊器是临床医疗器械中重要的辅助工具,是医师诊断、诊疗时最常用的诊断用具之一。尤其在临床上有着广泛的应用。传统的听诊器听筒多采用金属材料制成,医生在为患儿诊断时,听诊听筒与患儿皮肤接触会产生低温不适感,给患儿带来不适,患儿产生哭闹不安,使得正常诊疗受到影响。由于传统听诊器在听诊技能、临床治疗护理工作等方面存在不足,故发明一种新型听诊装置弥补传统听诊器存在的缺陷。
系统设计 结构组成:该新型听诊器保护装置由1-U型保护壳、2-密封板、3-橡胶保温层、4-V型限位片、5-温度控制器、6-发热电阻层、7-感温探头、8-T型移动片、9-调节孔、10-扭转弹簧、11-避让槽、12-橡胶保温片、13-弹性夹板组成。 工作原理 该新型儿童实用新型多功能听诊器保护装置的工作原理简单易行。首先,它通过拉扯避让槽打开密封板,并将听诊器的听筒加热面朝向发热电阻层,从而将听诊器缓慢放置进U型保护壳内,放置过程会有一定的阻力,当听诊器的听筒最大直径通过V型限位片的最低点后,V型限位片在其弹力的作用下回弹,从而对听诊器的听筒进行固定;然后,打开温度控制器的控制开关,使得发热电阻层对听诊器的听筒进行加热,并将该保护装置通过弹性夹板夹持在医务人员的衣服上。为患儿诊疗时,需要向上搬动T型移动片并通过拉扯避让槽打开密封板,从而取出听诊器的听筒。因听筒一直存放在恒温装置中,因此取出后的听筒可以直接为患儿进行诊疗,患儿不会产生因低温不适造成不配合的情况。 工作创新 1.由于该实用新型听诊装置通过V型限位片对听诊器的听筒进行限位,从而便于听诊听筒的固定。 2.当U型保护壳内听诊器的听筒受到向上的拉力时,V型限位片能够对听诊器的听筒进行一定的缓冲,从而进一步保护听诊器的听筒。 3.通过弹性夹板,便于将该实用新型装置夹持在医务人员的衣服上,从而方便医务人员进行携带。 4.该实用新型听诊装置上设有加热装置,能够对听诊器的听筒进行加热,从而避免听诊听筒与患儿皮肤接触产生的低温不适感。 5.这种新型听诊装置的主体结构简单,省时省力,利于临床各科医务人员进行使用。 小 结 经验丰富的医生往往能通过听诊器基本判断,甚至确定求医者的病情及患病部位,金属材质的听诊器直接接触患儿身体会产生冷刺激,可能引起条件反射,如心跳加速、肌肉僵硬紧张、呼吸加快等症状,导致诊断的不准确,同时也缺乏医学人文关怀。该新型听诊保护装置发明设计制作简单,成本低廉,便于临床使用,使其增加了儿童就医检查的依从性,提升了家长的满意度,也呈现出医院人文关怀的初心和使命。 (作者供职于河南省儿童医院) |