□刘霞 李黎 文/图
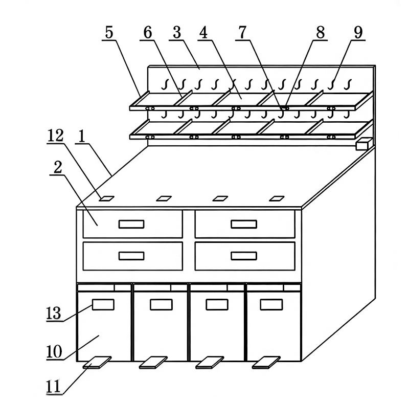
在临床护理工作中,准备环节是保障诊疗顺利开展的关键流程,涉及药液配置、治疗用品整理、医疗垃圾处理等多项操作。 设计背景 当前临床所使用的治疗设备存在诸多痛点。 储物空间布局不合理。治疗用的药液、生理盐水、安瓿等用品缺乏专用分类存放区域,易出现混淆摆放情况,不仅增加护理人员寻找物品的时间,还可能因物品错用引发医疗风险。 医疗垃圾处理不规范。现有设备多未设置专用的分类储存结构,安瓿、利器、普通医疗垃圾等常混合投放,既不符合医疗废物分类管理规范,又易导致环境污染,同时增加护理人员职业暴露的风险。 操作便捷性不足。传统垃圾柜多采用手动开合方式,护理人员在配药操作后,需要手动开关柜门投放垃圾,易造成手部污染,且频繁弯腰操作会加重腰背部负担,长期易引发职业损伤。 此外,现有设备缺乏适配的辅助配件,如液体瓶悬挂结构、患者信息标识装置等,导致护理人员需要频繁往返于治疗台与储物间之间,工作效率低下。 为解决上述临床痛点,规范治疗准备流程,提升护理工作效率,降低职业损伤与医疗风险,笔者设计了一种新型治疗准备台,通过优化结构布局、增设分类功能、改进操作方式,为临床护理工作提供更安全、高效、便捷的治疗准备解决方案。 产品结构 这种新型治疗准备台,包括操作台、4个抽屉、4个储物柜。这三大核心储物模块布局规整、取用便捷:4个抽屉均匀排布于操作台下方,4个储物柜则左右间隔设置于抽屉下方,形成分层储物结构。 使用方法 治疗用品摆放 将不同患者的药液、生理盐水、葡萄糖等治疗用品分类放置于各置物框内,通过磁扣粘贴对应患者的信息标识。该设计既能借助挡沿与挡板的防护作用避免安瓿等易碎品掉落,又能通过信息标识明确区分不同患者的用品,防止混淆;患者治疗完成后,取下磁扣即可将置物框复位重新使用。 医疗垃圾投放 配药或治疗过程中产生垃圾时,根据操作台的垃圾标记,踩下对应储物柜的脚踏板,柜门自动翻转打开,将垃圾投放至收集袋后松开脚踏板,柜门在阻尼铰链的缓冲作用与复位弹簧的拉力作用下平稳闭合。 收集袋更换 当观察到收集袋内垃圾装满后,踩下脚踏板打开柜门,通过收紧绳与收紧扣将收集袋封口,取出旧收集袋后,将新收集袋套设置于支撑圈并整理固定,完成更换。 创新优势与实用价值 这种新型治疗准备台设计科学合理、配套设施齐全,具备显著的科技创新性与实用价值:其一,创新增设医疗废物分类储存柜,实现安瓿、利器等不同类型医疗垃圾的彻底分类收纳,有效降低环境污染风险,减少医务人员的职业暴露风险;其二,优化储物空间布局,通过抽屉、置物框、挂钩等多元化储物结构,为治疗用物提供充足的储存空间,减少护理人员往返取物的频次,大幅提升工作效率;其三,采用脚踏式自动开关装置,无须手动接触柜门即可完成开合操作,同时减少护理人员弯腰投放垃圾的动作,降低腰背部职业损伤的发生概率,更贴合临床护理的实操需求。

产品示意图
1.操作台 2.抽屉 3.安装板 4.置物板 5.挡沿 6.挡板 7.磁铁块 8.磁扣 9.挂钩 10.柜门 11.脚踏板 12.复位弹簧 13.柜子拉手 (作者供职于郑州大学第一附属医院) |