□庞海燕 文/图
技术背景
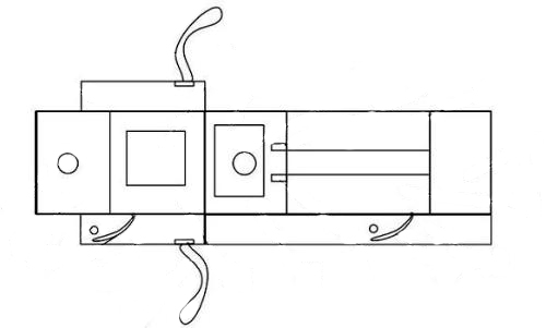
如今,气管切开术已广泛应用于各类疾病的治疗中,但其术后并发症严重威胁着患者的生命安全。常见的气管切开术后并发症包括出血、切口感染、气胸、套管堵塞、脱管、窒息等。相关研究分析显示,气管切开术后并发症发生率为2.73%。尽管术后良好的护理能大幅降低并发症的发生风险,但与其他医学领域相比,气管切开术后的护理水平仍有较大的提升空间。在临床工作中,危重患者气管切开后病情变化迅速,体温波动大且易出汗,而目前临床使用的被子及被罩无法根据患者的病情、体温变化调整厚度与覆盖区域,导致患者家属常需将被子与被罩分离,根据体温仅盖被套或仅盖被芯,给护理带来不便。此外,患者留置导尿管时,护理人员需打开被子进行尿道口消毒;根据病情需选择腹股沟处股动脉作为动脉血气穿刺抽血点;进行心电监护、心电图操作时需安置导联线,或抢救心脏骤停患者时需进行除颤操作——这些情况均需掀开被子。寒冷环境下易导致患者受凉,进而引起体温升高、寒战,同时增加医护人员操作难度。为此,设计一种适用于气管切开危重患者的盖被十分必要。 创新内容 该气管切开危重患者盖被从左到右依次划分为颈部盖被区、胸部盖被区、腹部盖被区、下肢盖被区和足部盖被区。其中,下肢盖被区包含下肢盖被区一与下肢盖被区二;胸部盖被区两侧分别设有上肢盖被区一与上肢盖被区二;下肢盖被区与足部盖被区的一侧设有护理被单放置区。气管切口区位于颈部盖被区内,胸部盖被区内设有胸部盖被开窗区;腹部盖被区内则分别设有腹部盖被开窗区、会阴部盖被开窗区、腹股沟股动脉盖被开窗区一及腹股沟股动脉盖被开窗区二。此外,该气管切开危重患者盖被的两侧均采用开闭式结构。 上肢盖被区一的一侧设有上肢盖被约束带一,上肢盖被区二的一侧设有上肢盖被约束带二。 胸部盖被开窗区、腹部盖被开窗区、会阴部盖被开窗区、腹股沟股动脉盖被开窗区一、腹股沟股动脉盖被开窗区二均配备开窗区被盖,该被盖一端与所在开窗区固定连接,其余边缘均为开放式,且大小恰好覆盖所在开窗区。 气管切开危重患者盖被的长度为2米,宽度为1.5米。 盖被的一侧设有盖被连接带和连接带固定孔。 颈部盖被区、胸部盖被区、腹部盖被区、足部盖被区、下肢盖被区一、下肢盖被区二、上肢盖被区一、上肢盖被区二均为开放式,其上下两侧均连接有固定带。 有益效果 1.该设计便于气管切开患者暴露各类管路,有利于观察、处置与护理。其能有效防止气管切开后痰液喷溅污染盖被,从而避免交叉感染,并有效预防因盖被问题导致患者受凉引发的肺部感染。同时,可根据患者病情变化及体温波动情况,及时调整盖被厚度。 2.该设计可有效固定静脉穿刺肢体,防止脱管引起的药液外渗,降低患者静脉穿刺重复操作率。 3.胸部、会阴部、腹股沟等处设有开窗,便于医护人员操作观察及患者家属进行护理,从而缩短患者住院时间,减少医疗费用,避免患者因并发症导致窒息等严重后果。 (作者供职于商丘市第一人民医院)

气管切开危重患者盖被的简易结构示意图 |